推荐产品Recommended
联系合作contact us
售前服务热线
021-58570166
售后:021-57938185
邮箱:yfbeng@163.com
地址:上海市浦东新区沔北路75号
在线咨询
Online consulting








质量稳定:全程质量监控,细致入微,全方位检测,保证产品质量!
交货快捷:先进生产流水线,备货充足,常规产品全部仓库现货供应!
专业定制:高级工程师专业选型报价,各种材质非标产品皆可洽谈定做!
全国服务热线:
在线咨询
可选材质:铸铁、不锈钢、工程塑料、铝合金材质
一、产品概述:
气动隔膜泵是一种新型输送机械,是目前国内最新颖的一种泵类。采用压缩空气为动力源,对于各种腐蚀性液体,带颗粒的液体,高粘度、易挥发、易燃、剧毒的液体,均能予以抽光吸尽。
气动隔膜泵其有四种材质:塑料、铝合金、铸铁、不锈钢。隔膜泵根据不同液体介质分别采用丁晴橡胶、氯丁橡胶、氟橡胶、聚四氟乙烯、聚四六乙烯。以满足不同用户的需要。安置在各种特殊场合,用来抽送种常规泵不能抽吸的介质,均取得了满意的效果。
二、性能参数表:
|
型号
|
流量
(m3/h) |
扬程
(m) |
出口压力
(kgf/cm2) |
吸程
(m) |
允许
颗粒直径 (mm) |
最大
供气压力 (kbf/cm2) |
最大
耗气量 (m3/min) |
材质
|
||||
|
铝合金
|
不锈钢
|
铸铁
|
增强聚丙烯
|
衬氟 |
||||||||
|
QBY-10
|
0~0.8
|
0~60
|
6
|
5
|
1
|
7
|
0.3
|
√ | √ | √ | √ | × |
|
QBY-15
|
0~1
|
0~60
|
6
|
5
|
1
|
7
|
0.3
|
√ | √ | √ | √ | × |
|
QBY-25
|
0~2.4
|
0~60
|
6
|
7
|
2.5
|
7
|
0.6
|
√ | √ | √ | √ | √ |
|
QBY-40
|
0~8
|
0~60
|
6
|
7
|
4.5
|
7
|
0.6
|
√ | √ | √ | √ | √ |
|
QBY-50
|
0~12
|
0~60
|
6
|
7
|
8
|
7
|
0.9
|
√ | √ | √ | √ | √ |
|
QBY-65
|
0~16
|
0~60
|
6
|
7
|
8
|
7
|
0.9
|
√ | √ | √ | √ | √ |
|
QBY-80
|
0~24
|
0~60
|
6
|
7
|
10
|
7
|
1.5
|
√ | √ | √ | × | √ |
|
QBY-100
|
0~30
|
0~60
|
6
|
7
|
10
|
7
|
1.5
|
√ | √ | √ | × | √ |
|
材质选择:强酸、强碱——聚丙烯或衬氟,弱碱强碱——不锈钢或塑料,无腐蚀——无要求,浓硝酸——铝合金 |
||||||||||||
三、适用场合:
由于气动隔膜泵具有以上特点,所以在世界上隔膜泵自从诞生以来正逐步侵入其他泵的市场,并占有其中的一部分。如:喷漆、陶瓷业中隔膜泵已占有绝对的主导地位,而在其他的一些行业中,像环保、废水处理、建筑、排污、精细化工中正在扩大它的市场份额,并具有其他泵不可替代的地位。气动隔膜泵的优势在于:
1、由于用空气作动力,所以流量随背压(出口阻力)的变化而自动调整,适合用于中高粘度的流体。而离心泵的工作点是以水为基准设定好的,如果用于粘度稍高的流体,则需要配套减速机或变频调速器,成本就大大的提高了,对于齿轮泵也是同样如此。
2、在易燃易爆的环境中用气动泵可靠且成本低,如燃料、火药、炸药的输送,因为:第一、接地后不可能产生火花;第二、工作中无热量产生,机器不会过热;第三、流体不会过热因为隔膜泵对流体的搅动最小。
3、在工地恶劣的地方,如建筑工地、 工矿的废水排放、由于污水中的杂质多且成分复杂,管路易于堵塞,这样对电泵就形成负荷过高的情况,电机发热易损。气动隔膜泵可通过颗粒且流量可调,管道堵塞时自动停止至通畅。
4、另外隔膜泵体积小易于移动,不需要地基,占地面极小,安装简便经济。可作为移动式物料输送泵。
5、在有危害性、腐蚀性的物料处理中,隔膜泵可将物料与外界完全隔开。
6、或是一些试验中保证没有杂质污染原料。
7、可用于输送化学性质比较不稳定的流体,如:感光材料、絮凝液等。这是因为隔膜泵的剪切力低,对材料的物理影响小。
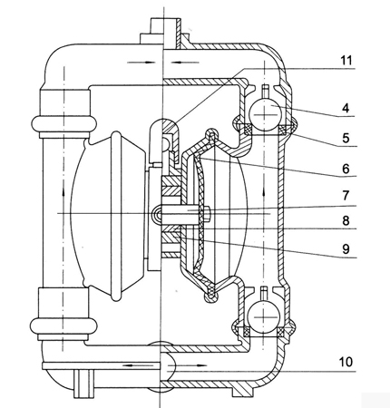
四、工作原理:
1、以压缩空气为动力。
2、在泵的两个对称工作腔中,各装有一块有弹性的隔膜,联杆将两块隔膜结成一体,压缩空气从泵的进气接头进入配气阀后,推动两个工作腔内的隔膜,驱使联杆联接的两块隔膜同步运动。与此同时,另一工作腔中的气体则从隔膜的背后排出泵外。一旦到达行程终点。配气机构则自动地将压缩空气引入另一个工作腔,推动隔膜朝相反方向运动,这样就形成了两个隔膜的同步往复运动。每个工作腔中设置有两个单向球阀,隔膜的往复运动,造成工作腔内容积的改变,迫使两个单向球阀交替地开启和关闭,从而将液体连续地吸入和排出。
因此隔膜泵具有以下特点:
(1)泵不会过热:压缩空气作动力,在排气时是一个膨胀吸热的过程,气动泵工作时温度是降低的,无有害气体排出。
(2)不会产生电火花:气动隔膜泵不用电力作动力,接地后又防止了静电火花
(3)可以通过含颗粒液体:因为容积式工作且进口为球阀,所以不容易被堵。
(4)对物料的剪切力极低:工作时是怎么吸进怎么吐出,所以对物料的搅动最小,适用于不稳定物质的输送
(5)流量可调节,可以在物料出口处加装节流阀来调节流量。
(6)具有自吸的功能。
(7)可以空运行,而不会有危险。
(8)可以潜水工作。
(9)可以输送的流体极为广泛,从低粘度的到高粘度的, 从腐蚀性得到粘稠的。
(10)没有复杂的控制系统,没有电缆、保险丝等。
(11)体积小、重量轻,便于移动。
(12)无需润滑所以维修简便,不会由于滴漏污染工作环境。
(13)泵始终能保持高效,不会因为磨损而降低。
(14)百分之百的能量利用,当关闭出口,泵自动停机,设备移动、磨损、过载、发热
(15)没有动密封,维修简便避免了泄漏。工作时无死点。
五、泵的材质:
QBY系列隔膜泵跟据用户不同的工况条件,主要有以下几种材质可选:工程塑料、铸铁、铝合金、不锈钢、衬胶等。
六、泵的用途:
1.泵吸花生酱、泡菜、土豆泥、小红肠、果酱、苹果酱、巧克力等。
2.泵吸油漆、树胶、颜料。
3.粘合剂和胶水、全部种类可用泵吸取。
4.各种瓦、瓷、砖器及陶器釉浆。
5.油井钻好后,用泵吸沉积物及灌浆。
6.泵吸各种乳剂和填料。
7.泵吸各种污水。
8.用泵为油轮,驳船清仓吸取仓内污水。
9.啤酒花及发酵粉稀浆、糖浆、糖蜜。
10.泵吸矿井、坑道、隧道、选矿、矿渣中的积水。泵吸水泥灌浆及灰浆。
11.各种橡胶浆。
12.各种磨料、腐蚀剂、石油及泥浆、清洗油垢及一般容器。
13.各种剧毒、易燃、易挥发液体。
14.各种强酸、强碱、强腐蚀液体。
15.各种高温液体最高可耐150℃。
16.作为各种固液体分离设备的前级送压装置
七、隔膜泵的优点:
无泄漏、能自吸、可空载、不必用电更安全。

